Monday, November 28, 2022

Kyoto Wiring Diagram Voltage Regulator, Voltage Regulator, A Summary | Techy At Day, Blogger At Noon, And A

Kyoto Wiring Diagram Voltage Regulator Voltage Regulator Design Not Working

Voltage regulator poor performance

Patent usre39065. Voltage regulator, a summary. Circuit seekic characteristics input exceed except fig same. Regulator voltage mechanical wiring cubcadetman schematic

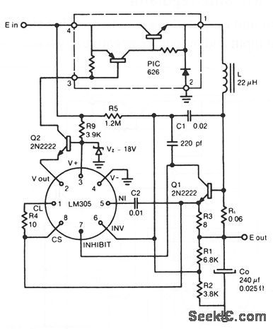
High current voltage regulator

High current voltage regulator

Voltage Regulator Design Not Working - Electrical Engineering Stack

Voltage Regulator Design Not Working - Electrical Engineering Stack

[NR_8079] Voltage Stabilizer Circuit Diagram Schematic Wiring

[NR_8079] Voltage Stabilizer Circuit Diagram Schematic Wiring

Voltage Regulator Poor PErformance - Electrical Engineering Stack Exchange

Voltage Regulator Poor PErformance - Electrical Engineering Stack Exchange

Patent USRE39065 - Switching voltage regulator circuit - Google Patents

Patent USRE39065 - Switching voltage regulator circuit - Google Patents

No comments:

Post a Comment